Автор |
Сообщение |
TROLL_ Эксперт
|
|
нужна информация по этой бяки.
ссылки, конкретные настройки под коммутаторы D-LINK, Zyxel |
|
 |
|
 |
woddy Гуру
Предупреждений : 1
|
|
конкретнее говори что надо? или иди в гугл.
длинк3526 настраивается легко |
|
 |
|
 |
TROLL_ Эксперт
|
|
woddy
сеть большая. 2 шт. по 24 упр. длинка + vdsl2 от zyxel - 17 мопедов к нему.
1длинк по оптике ко 2длинк.
вдсл2 в 1длинк на одном из модемов есть чел которго нада ввести в сеть на 5 порту 1длинка.(организовать сеть). все клиенты имеют доступ к серверу и только к своей сети. все устройства поддерживают данную технологию. что свичи что операторский вдсл, что модемы. |
|
 |
|
 |
woddy Гуру
Предупреждений : 1
|
|
и зачем нужны вланы? насколько я помню вдсл модемы пропустят 10(12?) вланов и не более. больше проблем не вижу.
ЗЫ постановки задачи так и не увидел |
|
 |
|
 |
old_kotik Продвинутый форумчанин
|
|
| TROLL_ писал(а): |
woddy
сеть большая. ..... все устройства поддерживают данную технологию. что свичи что операторский вдсл, что модемы. |
ты собрался отдавать тегированные транки на сторону через дсл-модемы? ты смелый человек! stp способен принести в твою жизнь много незабываемых минут и даже часов.
а если серьезно, то, согласен с коллегой - не увидел пока никакой необходимости в тэгировании второго уровня. нарисуй схему. тебе самому станет понятнее - что и куда надо подавать. |
|
 |
|
 |
TROLL_ Эксперт
|
|
old_kotik
woddy
ввести с вдсл одну сеть в сеть на 1длинке на порт 2 предположем.
сеть настроена таким образом что клиенты своей сети имеют доступ только к серверу и к своей сети. к другим сетям доступа нет.
сеть вся внутренняя выхода неружу нет. своя атс, свой крос.
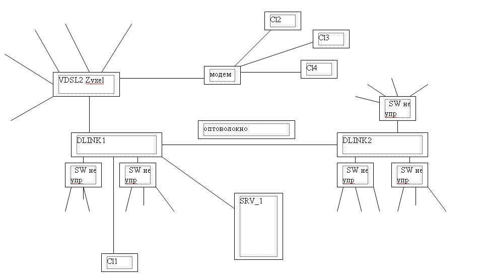
| 1.JPG |
| Описание: |
|
| Размер файла: |
44.52 KB |
| Просмотрено: |
270 раз(а) |

|
|
|
 |
|
 |
old_kotik Продвинутый форумчанин
|
|
TROLL_
на серваке тоже транк настраивать будешь? или кучу карточек в сервак пихать - под каждую вланку?
собственно, сеть-то маленькая, а геморроя со спаннинг-три поиметь можно много. особенно, если настраиваешь по примерам, без осознания механизма. короче, единственный транковый стык - между длинками. про транковый стык на сервак - вопрос к тебе, а поддерживает ли карточка в серваке dot1q. ну и кто разруливать третий уровень будет - сервак? |
|
 |
|
 |
woddy Гуру
Предупреждений : 1
|
|
old_kotik а STP то ему зачем? это ты уже сам придумал  |
|
 |
|
 |
old_kotik Продвинутый форумчанин
|
|
| woddy писал(а): |
old_kotik а STP то ему зачем? это ты уже сам придумал  |
если хоть один транк есть - стп будет полюбому. в оптике транк? на вдсл он, вроде, тоже не одну вланку собрался подавать. или длинки такие глупые, что на них по умолчанию portfast trunk включен? |
|
 |
|
 |
woddy Гуру
Предупреждений : 1
|
|
 |
|
 |
old_kotik Продвинутый форумчанин
|
|
| woddy писал(а): |
| не нужен ему транк... |
тогда и вланы не нужны  |
|
 |
|
 |
TROLL_ Эксперт
|
|
old_kotik
woddy
господа!!!! с транками дело не имел. и по сему я спрашиваю совета как сделать то ????? мож вообще в таком случае его в сеть не вводить? |
|
 |
|
 |
old_kotik Продвинутый форумчанин
|
|
| TROLL_ писал(а): |
old_kotik
woddy
господа!!!! с транками дело не имел. и по сему я спрашиваю совета как сделать то ????? мож вообще в таком случае его в сеть не вводить? |
ну сейчас-то через что все разрулено? через ип-адресацию? если да, то и сделай также. |
|
 |
|
 |
woddy Гуру
Предупреждений : 1
|
|
| ты четко сформулировать задачу так и не смог... кто куда должен иметь доступ у кто не должен. настраивается все просто, но сначала надо осознать что ты хочешь |
|
 |
|
 |
TROLL_ Эксперт
|
|
woddy
еще раз. задача. есть тело на мопеде которое должно входить в сеть с первого длинка на 5 порту. они должны обмениваться друг с другом как в одной сети и видеть сервер. другие сети не могут заходить к ним в сеть.
нет не через ип адресацию.
на длинках четко прописано каму на какой порт ходить, грубо с1 на 8,со 2 на 8, и т.д. 8 -сервер. |
|
 |
|
 |
woddy Гуру
Предупреждений : 1
|
|
| TROLL_ писал(а): |
| есть тело на мопеде которое должно входить в сеть с первого длинка на 5 порту. они должны обмениваться друг с другом как в одной сети и видеть сервер. |
на мопеде только одно это тело или еще клиенты? |
|
 |
|
 |
woddy Гуру
Предупреждений : 1
|
|
| TROLL_ писал(а): |
на длинках четко прописано каму на какой порт ходить, грубо с1 на 8,со 2 на 8, и т.д. 8 -сервер. |
т.е. уже вланы настроены? |
|
 |
|
 |
TROLL_ Эксперт
|
|
 |
|
 |
woddy Гуру
Предупреждений : 1
|
|
VDSL2 zyxel - это модем или дслам? от него подозрительно много линий идет
и не понятно как настроено щас... значит надо вникать в действующий конфиг |
|
 |
|
 |
TROLL_ Эксперт
|
|
это операторское оборудование, дслам, только вдсл2, скорость до 64 мб.
я это и писал в начале!!!! |
|
 |
|
 |
|